Blog by Steve Laug
I am a fan of Bing Crosby and have watched most of his films over the years. A tradition in our family during the Advent Season and over New Year’s involves enjoying White Christmas, The Bells of Saint Mary’s and Holiday Inn. As a pipeman I enjoy watching how he incorporates his pipe into the ebb and flow of the movies. On top of that the crooner can sing! I have a number of his albums in my collection and follow him on Spotify. The variety of music he sings has always been fun to listen to.
Over the years I have seen quite a few long, pencil-shanked Bing pipes – made by diverse makers from Savinelli to various artisan made renditions. All of them have the characteristic look of the pipe in the photo to the right. My research for blogs on Mastercraft pipes led me to information that Bing had been involved in the business of the pipe company and certainly could be seen in many of their advertisements. I have included one of them I found on Pipedia from 1945 advertisement courtesy Doug Valitchka.
When my brother sent me some pictures of the next pipe he had picked up on EBay I was hooked before I even had it in hand. The seller had described the pipe as follows: A Rare Bing Crosby Swiss Cheese Pipe Made in Italy. There it was – a Bing Crosby Pipe. However it was unlike any other Crosby pipe I had ever seen. He continued his description as follows: Stem rotates to open holes and to produce a cooler smoke. Stem is stamped Italy. Pipe is stamped Bing Crosby with some kind of Maker’s Mark Pat 2.838.052 Others Pend.
Here are the photos the seller included. The pipe appeared to be in excellent condition. The finish looked like it was flawless. The bowl was lightly caked and the perforated shank looked really interesting. There was a silver band on the end of the shank and the stem was clean except for light tooth marks and chatter on the top and the underside near the button.
The seller included a close up photo of the perforated shank that he said rotated. It had 20 larger perforations that ran in four columns the length of the shank. There were also 20 smaller perforations between the larger columns. The band had a notch and the stem had a raised portion that rotated in the notch to align the various air holes and control the airflow into the shank of the pipe. The seller did not include any photos of the internal parts of the pipe. That would have to wait until I had it in hand to find out. The close up of the rim gave a clear picture of the thickness of the light cake in the bowl and the condition of the rim top.
He also included a close up photo of the stamping on the underside of the bowl. It was clear and readable. The left side (toward the front of the bowl bottom) stamping is lighter but still readable. It reads: Bing Crosby in an arch over a symbol spacer. Arched underneath that spacer it reads: Pat. 2,838,052 over Others – Pend. Italy is stamped on the underside of the stem. I am not sure if it refers to the vulcanite coming from there or the manufacture of the pipe itself being done in Italy.
As expected, information was somewhat scarce on the pipe. I did find that one of my favourite go to sites, SmokingMetals had information on the brand. I quote the information and have included the photos that I found on that site:
Several variants, but basically the inner stem consists of a filtering device integral with the bit. The outer sleeve comes in several designs. Twisting the perforated outer stem alters the smoke flow/air mixture. These examples here under the Bing Crosby name, but another derivative came under the name of Trailblazer, by “Pipes by Lee Inc.”. The Medico Ventilator appears to incorporate the same principle.
I dug a little deeper in the web and found that there was a thread on the Pipesmokers Forum. Here is the link if you would like to follow the entire discussion on the thread. https://pipesmokersforum.com/community/threads/a-bing-crosby.45689/ I quote two of the respondents regarding the pipe.
It’s my understanding that the “swiss cheese stem” was designed to give the pipe a cooler smoke. When you twist the pipe shank it either closes the holes or opens them – thus providing a cooler or warmer smoke. I am more interested in knowing if Bing really had a hand in its design or if the whole thing was a gimmick
…SO – the filtration system is called “thermostatic” – and the wood inside the aluminum sleeve on mine definitely looks to be balsa wood. Now if I could just get one of those magnetic drying chamber thingies.
The information I was finding in my research on the pipe was fascinating. I was getting excited about being able to work on it when it arrived in Vancouver. I was beginning to wonder if the pipe was not sold by Mastercraft. There were several links in the thread referring to articles and information on Bing Crosby himself and one that took me to an advertisement that appears to come from a Mastercraft Pipe Catalogue or from a magazine that included this pipe along with a selection of Mastercraft pipes. http://www.ebay.ca/itm/1971-ADVERTISEMENT-Bing-Crosby-Smoking-Pipes-Rolls-Royce-Bank-Tie-Rack-/151568646383?rmvSB=true
I have inserted a red box around the description of the pipe in the catalogue page and also included a magnified photo of the section that I highlighted. You can see it to the left. It reads: Bing Crosby pipes with thermostatic controls and balsa wood filtration combined with fine Briar for dependable new pleasure for every pipe smoker. In the photo item (J) and (K) show variations on the Crosby Pipe. The first is a presentation set with a pipe and 6 interchangeable filter stems and a magnetic drying chamber case where the stems and filters can be stored. Interestingly both sets bear the designation that the pipes are offered by Crosby Research. (That organization will be something I will look into at a later date.)
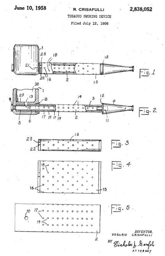
I used the patent number on the bottom of the bowl to hunt down the patent on the US Patent website. I have included the patent drawing and documentation that was submitted with the descriptions of the innovations of this pipe. The pipe was invented by Rosario Crisafulli of Jamaica Estates North, New York and was filed with the US Patent Office on July 12, 1956. The patent was granted almost two years later on June 10, 1958.
I made an unexpected trip to Idaho last week to visit my parents and brothers and brought the pipe back to Vancouver with me last evening. I took some photos of it before I cleaned it up.
I took some close up photos to confirm the condition of the pipe. The first shows the bowl, rim top and edges. They were in pretty good shape. There was some minor denting on the rim top. The second shows the stamping on the bottom of the bowl, confirming the information that was given above.
The next two photos show the perforated shank from the left side and the top (the other two sides are identical). In the second photo of the top of the shank you can see the notch and slot for adjusting the airflow into the stem.
The stem was in excellent condition except for a tooth mark on the top and the underside next to the button. They are hard to see in the photos but they are not too deep. The underside of the stem is also stamped Italy as noted earlier in the blog.
The shank encloses an aluminum tube with matching perforations to the shank. It is an integral part of the stem. Inside of the tube is a hollow balsa wood filter much like the hard maple filter found in Brigham pipes. In this case the smoke is drawn through the shank and air from outside is mixed with the smoke to either keep it warm or cool it so a clean dry smoke is enjoyed by the pipe smoker. In the earlier noted advertisement the stem and filter unit were one unit and were sold with replacements. The next photos show the pipe taken apart.
I used a Savinelli Fitsall Pipe Knife to scrape out the light cake in the bowl and clean up the inside edge of the rim.
I cleaned out the inside of each part of the pipe with pipe cleaners, cotton swabs and alcohol. In the mortise in the short shank on the bowl there was quite a bit of tarry buildup that came out quite quickly. In the outer tube of the shank there was also some tars. I used a sharp dental pick to clean out each perforation in the shank tube. I cleaned out the airway in the stem and the filtration tube with pipe cleaners and alcohol. I cleaned the end of the filter with cotton swabs and alcohol. I used cotton swabs to clean each spot of balsa wood that was underneath the perforations in the aluminum tube.
I sanded out the tooth marks on both sides of the stem with 220 grit sandpaper and polished it with micromesh sanding pads. I wet sanded with 1500-2400 grit pads and dry sanded with 3200-12000 grit pads. I wiped the stem down with Obsidian Oil after each pad and set the stem aside to dry after the final wipe down with oil.
I buffed the pipe and stem with Blue Diamond on the buffing wheel and gave the pipe multiple coats of carnauba wax. I was careful in buffing the shank so as not to fill the perforations in the shank with polish or wax. I buffed the pipe with a clean buffing pad to raise the shine and then hand buffed it with a microfiber cloth to deepen the shine. The finished pipe is shown in the photos below. It is truly an oddity but it is an interesting piece of pipe history. It is one more unique attempt to deliver the perfect cool and flavourful smoke. Thanks for walking with me through this refurb and through the associated information I was able to find. Cheers.


Is there a way to restore the balsa filtration system? I have a Rossi Bing thermostatic pipe that I’ve purchased but am having trouble finding the inserts.
LikeLike
Is there a way to restore the balsa filtration system? I have a Rossi Bing thermostatic pipe that I’ve bought but am having a hard time finding the replacement inserts.
LikeLike
I have purchased the Savinelli Balsa Filters from Amazon.com Not sure they are the same as the Rossi but could be
LikeLike
Hello rebornpipes. What do you think Presentation Set might be worth. It appears that if it was used it was only one cylinder and barely. It is still in the box, has the stand, and has the manual.
LikeLike
Hi Pat. Thanks for your question. Unfortunately I have no idea what a set like that is worth. To the right collector it would be a real gem. Sorry about not being more helpful
LikeLike
Pingback: I knew I had seen this brand before – another Bing Crosby Thermostatic Filtration System Pipe | rebornpipes
interesting, informative read.
LikeLike
Steve, really fun read. I want to know the same thing Charles asks, how does it smoke? Are you going to try it out? I’m curious to know if it delivers different temps as you change the air flow. Thanks for the interesting research.
LikeLike
I plan on giving it a go…not sure what to expect. Got another really interesting one that I am working on now that is another oddity.
LikeLike
I too am a big Bing Crosby fan. Always enjoy the nonchalant way he lights up his pipe in White Christmas, striking the match with his thumb nail. Smooth devil!
Thanks for sharing this bit of pipe history, Steve. I wonder how effective the system actually is?
LikeLike